R-500 Time-of-flight mass spectrometer
The Kore R-500 TOFMS is offered to researchers who primarily wish to construct a high performance secondary ion time-of-flight mass analyser system to their precise requirements. The pulsed primary ion source needed to generate the secondary ions can be a pulsed gas or liquid metal ion gun or laser with laser post-ionisation if required. The R-500 TOFMS is offered in component form allowing specific modules to be chosen.
R-500 Features
The R-500 is designed with a large bore, high transmission, ion input lens to efficiently extract secondary ions at a large sample to lens working distance:
-
The R-500 allows morphologically rough specimens to be examined. Unlike typical short working distance TOF mass spectrometers which require flat or smooth samples.
-
The R-500 has a large field of view allowing a 2mm diameter of the sample to be analysed. This can be compared with a typical maximum 800 micron TOFMS field of view.
-
The R-500 maximises mass resolution from laser post-ionisation because its large working distance and lower extract field gradient minimises the energy spread of post-ionised ions formed in the large spatial area of the unfocused laser beam.
-
The R-500's long working distance allows it to be incorporated in the restricted sample space in a multi-technique surface analysis instrument.
Mass Resolution: When used with a liquid metal ion gun with a sufficiently short pulse width in SIMS the R-500 has achieved mass resolutions up to 10,000 FWHM. As the resolution of a time-of-flight spectrometer is more often determined by source conditions than by the reflectron it is estimated that the R-500 would be capable of 20,000 mass resolution in favourable circumstances. With laser post-ionisation mass resolution can still be as high as 5,000 FWHM.
Mass range: The nature of the primary source interaction with the sample will determine which high masses become intact secondary ions. A time-of-flight mass analyser has no inherent mass limitation but the detection efficiency of the microchannelplate detector assembly used in the R-500 will decrease with mass. The relatively modest ion acceleration used in the standard R-500 limits the mass range to around 5,000amu for intact secondary ions. It is possible to increase this sensitivity in the R-500 by fitting a high mass detector assembly, which accelerates the ions up to about 25KV.
R-5OO Time-of-flight mass spectrometer assembly
This comprises a R-500 reflectron mounted on a flange within a tube vacuum vessel, with a flight tube including a channelplate detector assembly, pumping port and a flange mounted secondary ion lens as shown in the attached schematic. It is of fully bakeable UHV construction. The R500 TOFMS assembly has an effective flight path of 3 metres.
For a schematic view see flight tube below
The main components of the R-500 assembly are as follows:
Each of these assemblies are also available separately.
Spectrometer options
-
An alternative detector assembly is available for high mass detection using 25kV post-acceleration.
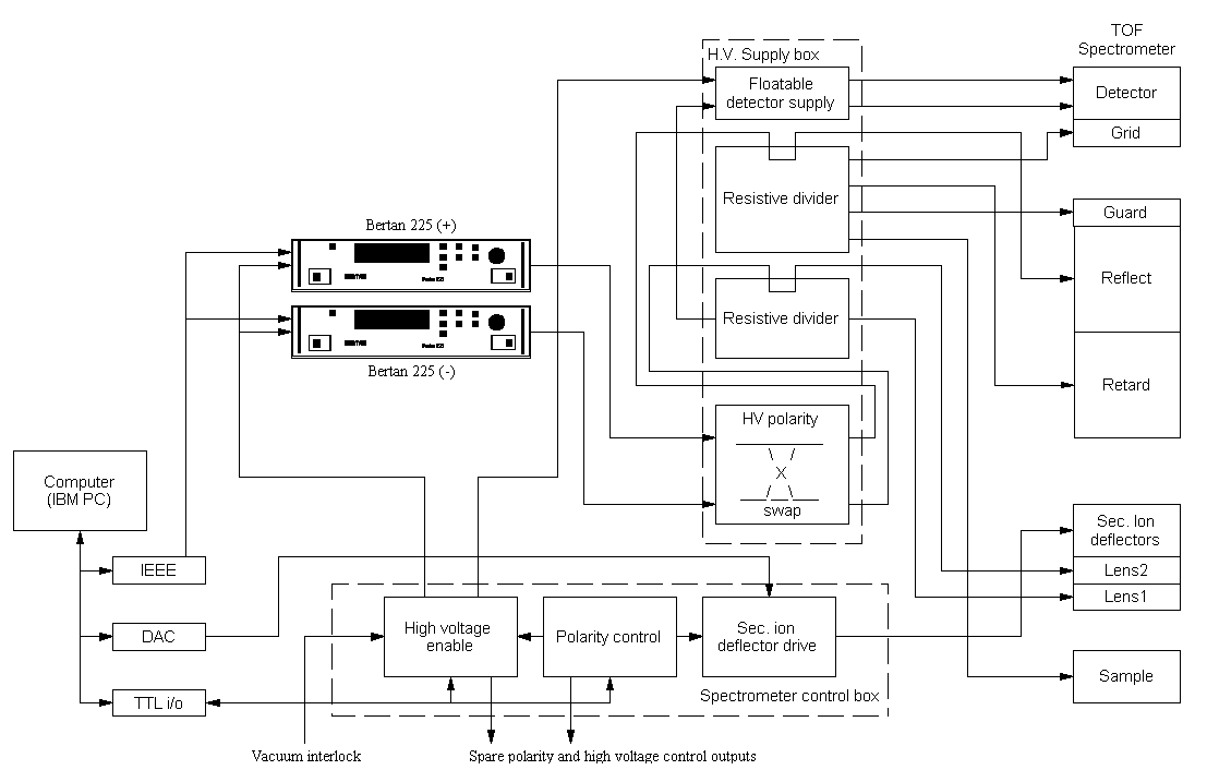
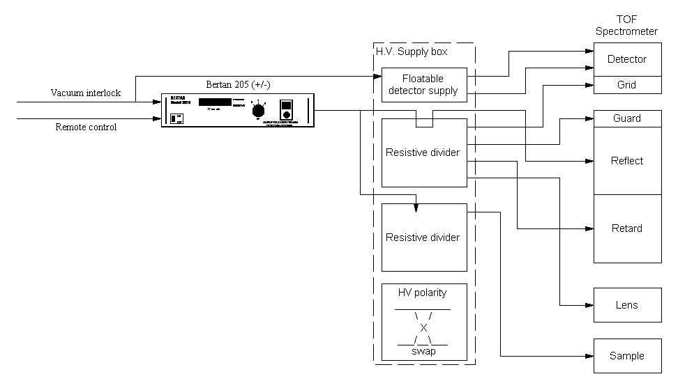
Time-of-flight spectrometer power supplies
Kore's TOF MS components can be used in a wide range of applications each with potentially very different requirements in terms of the spectrometer power supplies. As well as differences in the spectrometer specification, the supply system may need to be integrated within an overall control system. In order to facilitate the design of such systems Kore offers two rack mounting units: the first draws together control of the spectrometer to a single point and provides the drive for an octopole ion deflector; the second provides floatable excitation for an electron multiplying detector, a series of high voltage tappings for the spectrometer, and a set of high voltage relay contacts to facilitate polarity switching. For a complete power supply system additional general purpose high voltage power supplies are added as required. Such general purpose supplies may be purchased through Kore, or from a third party. The number and specifications of the additional supplies required will depend on the complexity of the experiments that are proposed. A minimal system, with mostly manual control and where lens elements are operated in decelerating mode, can be configured with only a single additional supply. A complex system with extensive computer control might use as many as six additional supplies.
The Kore units have been designed with the maximum flexibility in mind for research purposes. Thus the user may build a complex system with full computer control of the spectrometer via the Kore units, or a relatively simple system. A basic system can then be upgraded simply by the purchase of additional general purpose products (therefore relatively economical) as needed and when the budget allows.
Data acquisition systems for time-of-flight
Kore can offer various modules to assist in building time-of-flight data acquisition systems. These are normally based on standard IBM compatible PC hardware and the Microsoft Windows (3.x 95 or 98) operating system to allow customers maximum flexibility to choose their supplier of computer hardware and other packages (e.g. report writing, spreadsheets etc). This allows very cost effective systems to be built with minimum learning time.
- Hardware
-
For counting systems Kore offers a time-to-digital converter unit. For applications where this is not suitable we can advise on analogue alternatives.
- Software
-
Kore is a reseller for Thermogalactic Corp's GRAMS software and in addition can supply customised GUI front end GRAMS extensions for the spectrum or mapping acquisition with the TDC and spectrum acquisition using a Lecroy transient recorder.
Top
Last updated: 16:48 11/12/2013
© Kore Technology Limited 2005